文|港股研究社
“社区不是内容的集合,而是人的集合”,创始人瞿芳曾这样描述小红书产品的底层逻辑。
如今,集合在小红书背后的投资人与机构越来越多,上市的问题自然也就再次被提上了日程。10月13日,据英国《金融时报》报道,小红书2024年最新业绩出炉,一季度营收达10亿美元,净利润达2亿美元,分别同比增长67%和400%,并且再次传出了在香港上市的消息。
小红书,作为2013年移动互联网浪潮中成立的最后一批独角兽之一,终于也要上市了吗?
第“N”次上市传闻,全球VC都在期待的超级IPO
2013年6月,小红书在上海成立,从购物攻略分享开始,逐步成长为包罗万象的内容社区。
彼时的中国正迎来前所未有的移动互联网创业潮。同期出生的字节跳动、滴滴、拼多多、得物很快就迎来了用户与营收规模的爆发。其中,拼多多更是只用了3年时间就成功登陆纳斯达克,市值一度超过阿里。
相比之下,小红书则经历了很长一段时间的探索才迎来爆发。在2013—2020年这段时间里,外界一致认为,无论是用户的增长,还是商业化运作,小红书都是个不折不扣的“慢公司”。创始人瞿芳更是坦言,“小红书对商业的态度,是让它缓慢地生长,而不是心急地收割流量。”
直到2021年初,居家办公场景的增多,给小红书带来了机会,日活用户数直冲4000万,成为了当时增长速度最快的互联网产品之一。当时的字节更是一度试图以200亿美元的价格收购小红书,但最终被后者拒绝。
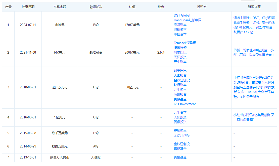
而从小红书的融资经历来看,一众新旧资本大佬齐集——小红书并不缺钱。
据天眼查显示,成立至今,小红书共融资7次,真格基金、阿里巴巴、腾讯均多次投资,今年7月更是引进了包括DST Global、红杉中国在内的新一批明星投资机构,估值从去年低点的100亿美元回升至170亿美元。

而机构看好,估值回升的主要原因:一方面是公司展示出了明确的上市预期,早在2018年4月,小红书创始人瞿芳,就曾对外透露过小红书上市的计划。2021年和2023年,小红书都传出要在美国和香港上市的消息。
尽管具体的上市时间和地点没能确定,但VC们看到了潜在的退出机会。
另一方面,在战略基本明确的情况下,小红书逐渐找到了适合自己的商业化节奏。2023年,公司整体营收达到37亿美元,净利润为5亿美元,较2022年的20亿美元营收和2亿美元亏损实现了扭亏为盈。
因此,无论是对小红书还是对机构来说,24年一季度业绩的暴涨,在估值逻辑回归价值投资的趋势下,都是确定性的利好。尽管目前小红书官方仍然不愿透露更多与IPO相关细节,但可以肯定的一点是,“等风来”的小红书,距离上市只是时间问题了。
成于种草,兴于电商
回顾小红书的商业化之路,从垂直社区到电商平台,小红书完成了平台调性的转变。
2014年起,小红书开始尝试电商变现,发展自营跨境电商“福利社”。然而,作为小红书在电商领域的一次尝试,“福利社”并没能给小红书带来突破。据艾媒数据,小红书在跨境电商领域的市场份额从2016年的6.5%跌到了2018年的4.3%。
随后,在2016—2018年期间,小红书开始引入第三方商家,并尝试打造自营品牌。2016年底,平台SKU增至15万,涵盖美妆、服饰、饮食等多个品类。
据亿欧援引知情人士报道称,小红书2017年销售额65亿元,2018年计划120亿元,但2018年上半年销量和2017年同期持平,甚至更低。
同时,为了促进“线上线下一体化”发展,小红书于2018年开始进军实体店,在上海静安大悦城开出了首家线下体验店小红书之家RED home。但好景不长,2020年元旦,小红书之家RED home最终没能逃离撤店的命运。
也就是说,截至2019年,小红书已经尝试过跨境电商、商家入驻、自营品牌、线下门店等多种电商变现的模式,但这些似乎都没能为小红书创下盈利。据《财经》报道,小红书2018、2019年两年的GMV目标均未达成。
直到2020年,小红书开启直播带货。以直播带货为切入口,小红书找到了最适合自己的切入口——买手电商。
2020年下半年,小红书签下前娱乐经纪人杨天真和美妆达人付鹏。两人都曾拿下单场直播GMV2000万元的战绩。
2023年,演员董洁和章小蕙在小红书的“慢直播”爆火出圈。根据小红书官方“直播薯”数据,董洁在历经前三场直播后,账号涨粉110万+,累计总GMV破亿;章小蕙首播GMV即突破5000万,观看人次超过100万,售罄链接数量达57个。
在“买手电商”的模式下,买手们的核心优势并非价格,而是包括与买手风格类似的审美、风格和个性化体验、情绪价值的输出,因此更符合小红书的种草属性。
从这个角度来看,经过整整十年的发展,在不同的商业路径之间长期摇摆不定的小红书,终于还是找到了最适合自己的答案。
既要又要,小红书如何在内容与商业之间作出取舍与平衡?
然而,商业化的问题解决了,伴随而来的,是营销内容对社区生态无可避免地侵蚀。
2021年,小红书因营销、炒作以及过度美化景点,存在误导用户的情况,引发了对网红景点“打假”的热议。2023年,小红书又出现了“虚假种草”等问题,多次成为舆论焦点。
事实上,小红书所遭遇的困境,其实也是当下所有内容型电商平台的难以解决的痛点,即如何保持商业化与内容生态之间的平衡?此前,类似的问题在B站、知乎等内容平台也同样出现过。
站在历史的角度来看,在当下的大环境,“过度追求盈利可能会失去明天,但不盈利会让企业活不过今天”。因此,优先选择盈利,才是让内容平台“站在牌桌上”继续卷下去的筹码。
只不过,在追求盈利的同时,如何学会“收放自如”,合理推进商业化进程加强内容与商业化的融合,保障用户体验,实现平台的可持续发展?这些问题是小红书需要去思考的。
今年7月,小红书COO柯南首次对外定义,小红书的电商是“生活方式电商”,弱化了原有的“买手制”,开始回归内核,“为用户带来价格之外的价值和生活方式体验”。
这一举动,既可以看作是小红书在追求商业化的道路上,对企业初心的回归,也印证了2023年末的CEO面对面上,创始人毛文超概括小红书企业价值的那句话:“跟生活息息相关的事,小红书上一定拥有全世界最全的解答。”
从这个角度来看,这句话既解释了小红书的过去,也考验着它的未来。如何找到一种既能满足商业需求,又能维护社区氛围的创新模式,将会是决定小红书能否长期成功的关键因素。