深圳商报·读创客户端记者 梁佳彤
据深交所官网,在上市审核被中止3个月后,江苏金智教育信息股份有限公司(下称“金智教育”)更新相关财务资料。该公司虽已于2023年7月13日过会,但迄今19个月过去了,仍未提交注册。
招股书显示,公司是国内领先的高校信息化服务提供商,以自主研发的基于私有云和公有云架构的智慧校园运营支撑平台产品、应用系统产品为基础,为高等院校和中职学校提供软件开发、SaaS服务、运维服务等信息化服务。公司收入主要来源于高校,盈利来源较为稳定。
金智教育曾于2020年冲击科创板IPO“折戟”,2022年转战创业板后,上市进程两次中止。2024年3月31日和2024年9月30日,该公司因IPO申请文件中记载的财务资料已过有效期,需要补充提交,深交所中止其发行上市审核。
营收净利负增长
核心业务“萎缩”
据已披露的财务资料,金智教育的营业收入和净利润均出现负增长。2020年至2022年(下称“报告期”),金智教育的营业收入分别为4.75亿元、4.92亿元、4.55亿元;归母净利润为7158.35万元、8032.17万元、7826.22万元。

此外,公司在2021年进行现金分红2400万元,经营性现金流也在该年跌至负值。2022年,公司筹资活动产生的现金流量净额为-3038.84 万元,主要系向股东分红2400万元、租赁长期资产支付的租金324.26万元和子公司支付少数股东减资款127.80万元。
报告期内,金智教育的主要收入来源为软件开发业务,每年均贡献超八成营收。而其软件开发业务主要分为智慧校园运营支撑平台、智慧校园应用系统两大类。2020年至2023年1-6 月,公司智慧校园运营支撑平台销售收入分别为2.08亿元、2.05亿元、1.81亿元及 4042.26万元,逐年有所下降。
该核心业务的营收连续下滑,引起了监管层的注意,被要求说明是否存在持续下降的原因及风险。金智教育解释称,基于当期信息化经费规模,智慧校园建设优先满足应对线上办公的管理和教学应用系统,平台项目整体市场放量趋缓,并强调不存在持续下降的风险。
旗下App频遭通报
产品遭合作院校停用
报告期内,金智教育SaaS业务的主力“今日校园” APP多次遭被工信部、网信办等部门通报整改,涉及违规收集个人信息等问题。
具体来看,公司于2020年8月收到工信部信息通信管理局通报;2020年11月收到APP违法违规收集使用个人信息治理工作组、工信部信息通信管理局通报;2021年2月收到江苏省通信管理局通报。

金智教育表示,公司在收到工信部、网信办整改通知后,已经以弹窗方式告知用户所需获取的权限,经用户确认后获取用户相关权限和信息。目前,公司对相关个人信息的获取、储存以及使用已符合《个人信息保护法》《网络安全法》等相关法律法规的规定。
合规相关问题遭通报后,金智教育面临着客户流失的挑战。近年来,多所合作院校已相继终止使用该公司旗下的“今日校园”APP,转而采用其他服务商提供的数字化校园解决方案。据金证研统计,杭州师范大学、贵州医科大学以及黄冈师范学院等高校都已宣布停用。
应收账款逐年攀升
合同纠纷不断
招股书显示,报告期各期末,金智教育应收账款及合同资产合计余额分别为2.53亿元、3.40亿元和3.56亿元,占各期营业收入的比例为53.24%、69.15%和78.28%,占比逐年提高。
金智教育提示,公司应收账款金额较大且回款周期较长。公司高校客户信息化建设资金主要来源于财政经费,资金审批、拨付的影响因素较为复杂,客户回款周期较长。若未来高校信息化建设资金来源不能及时到位、财政部门和高校客户进一步控制资金支付进度,将导致公司不能及时取得回款,会造成自身经营性现金流减少。
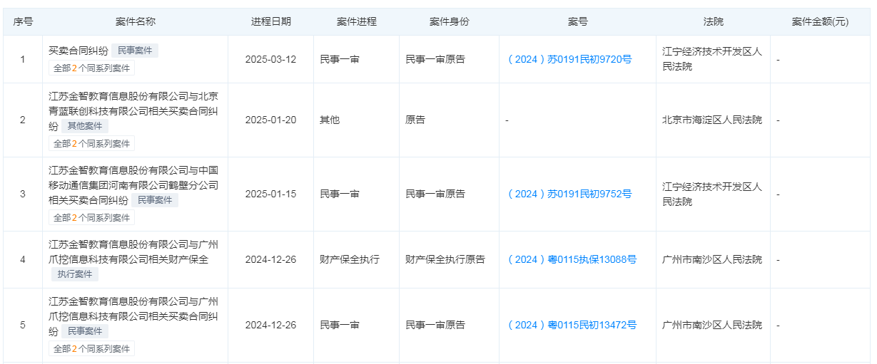
近年来,金智教育多次与客户因合同纠纷闹上了法庭。
据天眼查APP,该公司2024年至今涉及多宗买卖合同纠纷的案件,涉案企业包括三盟科技股份有限公司、北京青蓝联创科技有限公司、广州爪挖信息科技有限公司、广东唯顶信息科技股份有限公司等多家企业。
经核查司法文书显示,上述争议案件中金智教育股份有限公司均以原告身份提起诉讼,主张合同履约相关权益。
