每经记者:刘明涛 每经编辑:赵云
今日AI产业链炒作继续扩散,除有利好刺激的AI眼镜外,AI医疗也表现突出,在ETF市场上,医疗ETF处于领涨位置,医疗ETF(512170)半日涨幅接近3%,且半日成交金额高达9亿元。

ETF份额变化方面,整个医疗ETF变化不大,目前规模最大的医疗ETF(512170)较去年12月初略有下降,规模从760亿份降低至739亿份,而其他医疗ETF规模均有小幅增加。
投资逻辑来看,2025年年初以来,Ark Invest发布《Big Ideas 2025》报告,预测AI将彻底改变多组学工具、药物研发、分子诊断,并显著改善药物的经济回报。此外,随着近期DeepSeek接连发布具备开源、低成本、高性能的优势的V3和R1模型以及之后多家医药公司宣布接入DeepSeek,推动AI加速落地,AI医疗市场关注度提升。
点评:医疗ETF(512170)、医疗ETF龙头(560260)、医疗ETF(159828)、医疗50ETF(159847)今日上午涨幅均在2.5%以上,其中,医疗ETF(512170)半日涨幅为2.87%,其规模达到738.98亿份,半日成交金额高达9.01亿元,上述四只ETF均追踪的是中证医疗指数。
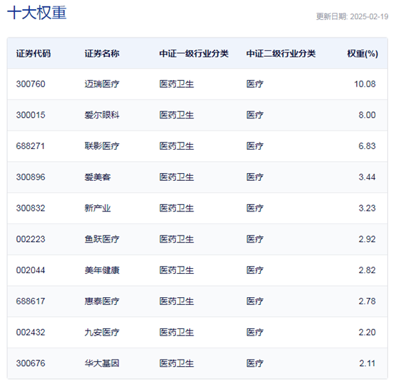
中证医疗指数选取业务涉及医疗器械、医疗服务、医疗信息化等医疗主题的医药卫生行业上市公司证券作为指数样本,以反映医疗主题上市公司证券的整体表现。

中证医疗指数主要权重股
点评:医疗产业ETF(159877)和医疗服务ETF(516610)今日上午涨幅也分别达到2.34%和2.2%,两只ETF规模都较小,均追踪的是中证全指医疗保健设备与服务指数,追踪该指数的ETF还包括医疗服务ETF(516610)等。
中证全指医疗保健设备与服务指数从中证全指指数中选取与医疗保健主题相对应的行业内上市公司证券作为指数样本,以反映该主题上市公司证券的整体表现。

中证全指医疗保健设备与服务指数主要权重股
每日经济新闻