
雷递网 雷建平 8月24日
小菜园国际控股有限公司(简称:“小菜园”)日前获中国证监会IPO备案,准备发行不超过218,230,400股普通股并在香港联合交易所上市。
这之前,九毛九已经在港交所上市。绿茶餐厅等也已递交招股书,准备在港交所上市,不过,绿茶餐厅仍未完成上市。
4个月经调整净利1.79亿 同比降10%
据介绍,小菜园创办于2013年6月,定位为新徽菜时尚连锁餐厅。传统徽菜汤汁厚重,味鲜浓郁,擅长烧、炖、蒸,而爆、炒菜少,重油、重色,重火功,其主要风味特点为咸鲜为主,突出本味,讲究火功,注重食补。
为迎合现代人健康饮食的理念,小菜园创立之初便推出“新徽菜”概念,即在传承徽菜用料讲究、重视火功、以食养生的基础上,注重健康营养,以少油少盐、少用调味品的烹饪方法,尽可能还原食物天然味道。同时,在店面设计装修上,提炼徽派古建筑元素,将徽派建筑风格和家常味道一并带入餐厅,提升顾客用餐体验。
截至目前,小菜园建立了由623家直营门店组成的门店网络。

截至2024年4月30日的4个月,小菜园新开门店62家,与2023年同期相比,小菜园门店的同店销售及门店层面的经营利润率均有所减少,当前,新开门店仍处于爬坡阶段。
于2021年、2022年、2023年及截至2023年及2024年4月30日止四个月,小菜园门店外卖业务产生的收入分别为4.1亿元、10.27亿元、14.87亿元、4.48亿元及5.93亿元。同期,小菜园门店外卖订单数量分别为480万笔、1380万笔、1890万笔、560万笔及810万笔,而小菜园门店外卖订单单均消费额分别为85.0元、74.5元、78.6元、80.4元及73.3元。
招股书显示,小菜园2021年、2022年、2023年营收分别为26.46亿元、32.13亿元、45.49亿元;期内利润分别为2.27亿元、2.38亿元、5.32亿元。小菜园2023年营收较上年同期增长41.6%。

小菜园2024年前4个月营收为16.8亿元,上年同期营收为15亿元;期内利润为1.94亿元,上年同期的期内利润为1.93亿元。
也就是说,小菜园在2024年尽管营收增长,但利润却并未实现对应增长。

小菜园在2024年前4个季度经调整利润为1.79亿元,较上年同期的2亿元下降近10%。
刚完成派息近2亿
于2021年,小菜园宣派股息1.5亿元,并于2022年结清该等股息,而2023年,宣派股息1.35亿元,并于同期结清该等股息,全数均以现金支付。
截至2024年4月30日止四个月,小菜园宣派股息1.88亿元,并于同期结清当中的1.74亿元,余款已于2024年5月结清。
加华资本是股东
小菜园执行董事分别为汪书高、李道庆、田春永、周斌、汪维芳女士、陶旭安;非执行董事为徐大卫,独立非执行董事分别为钱明星、朱南军、曾晓松。

于2022年11月27日,小菜园、XCY168 Limited、小菜园香港、小菜园餐饮控股、小菜园餐饮、英属维尔京群岛实体、汪书高及其他个人股东,与Harvest Delicacy订立投资协议及股东协议,并于2022年12月29日订立补充协议。
据此,HarvestDelicacy同意以人民币1.5亿元的等值美元代价认购公司将发行的可换股债券(「第一笔可换股债券」)。第一笔可换股债券于2023年2月28日发行。
2023年6月28日,小菜园、XCY168 Limited、小菜园香港、小菜园餐饮控股、小菜园餐饮、英属维尔京群岛实体、汪书高及其他个人股东,与加华创佳(海南)投资合伙企业(有限合伙)(「加华创佳」)及Harvest Delicacy订立投资协议及股东协议,据此,Harvest Delicacy同意进一步以人民币2.5亿元的等值美元代价认购公司将发行的可换股债券(「第二笔可换股债券」)。第二笔可换股债券其后于2023年12月1日注销。
2023年12月1日,小菜园、XCY168 Limited、小菜园香港、小菜园餐饮控股、小菜园餐饮、英属维尔京群岛实体、汪书高及其他个人股东,与嘉裕加华(天津)股权投资基金合伙企业(有限合伙)(「嘉裕加华」)、加华创佳及Harvest Delicacy订立第一轮投资协议及第二份经修订股东协议(「第一轮优先股协议」)。
据此,HarvestDelicacy同意以4亿元的代价认购第一轮优先股,(其中包括)(i)第一笔可换股债券项下结算的金额1.5亿元的等值美元将用作认购242.19股第一轮优先股的代价,第一笔可换股债券向第一轮优先股的转换同时完成;及(ii)第二笔可换股债券项下的金额2.5亿元等值美元将用作认购403.66股第一轮优先股的代价,第二笔可换股债券同时被取消。上述交易完成后,Harvest Delicacy持有公司645.85股第一轮优先股。

2023年12月1日,小菜园、XCY168 Limited、小菜园香港、小菜园餐饮控股、小菜园餐饮、英属维尔京群岛实体、汪书高及其他个人股东,与加华创屹(海南)投资合伙企业(有限合伙)(「加华创屹」,与Harvest Delicacy、加华创佳及嘉裕加华统称「投资者」)及Harvest Delicacy订立第二轮投资协议及第三份经修订股东协议,据此,Harvest Delicacy同意以1亿元的等值美元代价认购107.53股第二轮优先股。
汪书高控制93%投票权
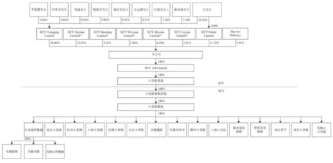
小菜园持股平台控制公司发行股本92.99%投票权,包括由XCY Yongqing Limited、XCY Xuyuan Limited、XCY Zhiyuan Limited、XCY Huiming Limited、XCY Weiyuan Limited、XCY Liyuan Limited及XCY Future Limited(统称英属维尔京群岛实体)分别持有公司已发行股本39.96%、25.61%、6.48%、5.21%、2.50%、1.91%及11.32%。

汪书高为各英属维尔京群岛实体的唯一董事,故此能够控制该等实体的投票权。
此外,汪书高及其他个人股东(即李道庆、田春永、周斌、陶旭安、叶红利、方志国、汪维芳女士及陈海燕)分别持有XCYYongqing Limited 29.26%、9.84%、9.84%、9.84%、9.84%、8.51%、8.51%、7.18%及7.18%股权。
于2023年10月10日,汪书高与其他个人股东订立一致行动协议,据此,自本公司于2021年注册成立以来,汪书高及其他个人股东已并将继续一致行动,方式为统一其XCYYongqing Limited的投票(包括在本公司股东大会上行使投票权),而其他个人股东将遵循汪先生有关XCY Yongqing Limited在公司股东大会上行使投票权的决定。
此外,HarvestDelicacy持股为7.01%。
———————————————
雷递由媒体人雷建平创办,若转载请写明来源。